找回密码
 立即注册
澳门威尼斯人
U8
U18
海燕招商
A
蓝盾
e世博
islot.
申博亚洲
澳门银河
B
腾博会
德信
C级广告商
吉祥坊
查看: 27093|回复: 74

[彩票] 【实战有奖】威尼斯人台湾宾果连挂后稳收,亏损2450止步

[复制链接]

98

主题

2万

回帖

7242

金币

铂金用户

积分
87027

老会员交易勋章魅力达人

发表于 2025-10-6 16:17 | 显示全部楼层 |阅读模式

马上注册,结交更多好友,享用更多功能,让你轻松玩转社区。

您需要 登录 才可以下载或查看,没有账号?立即注册

×
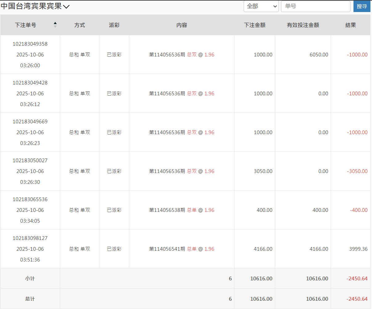
今天下午打了台湾宾果这一轮,整体过程挺曲折,但也算控制住了节奏。大概从下午三点左右开始进场,当时看走势总和“双”连开几期,手痒了,于是轻仓试单。原本打算随便玩玩,结果越看越不对劲,单双频繁切换,让人有点摸不清节奏。
* n* r5 p. D- I- D9 I- L
( ^# n% @9 E6 ?# Y; Z这轮总共下了六单,前几把基本都在试探走势。结果连续几期都反着来,尤其是那笔3050的“总双”,被直接吃掉,账面一口气红到三千多。那一瞬间心态确实有点晃,手差点又去补仓。后来想到之前吃亏的经验,强行让自己停手,看完那期结果就去洗了个脸。1 X: n; [% A. p: r0 {5 w

6 u- e0 {( {2 i& i' S回来后重新看走势图,发现节奏有点回稳,于是再上两把“总单”试水。最后一单我加到4166,打的第114056541期,终于中回来了3999.36,这口气算是稳了。整盘下来,亏了2450左右,折合人民币不到两千。3 m* _; d. ~8 Z' V/ n1 \

) E2 X) b# L2 @& g: [0 @账面上虽然是负的,但我个人觉得这轮打得比前几次更“成熟”——不是赢多少的问题,而是我终于没再乱追。这次BBIN那边转入了10616,转出回大厅时剩8165,虽然账面亏损,但过程有节制、心态稳,算是一次小考合格。6 Z6 _0 a2 k+ g0 G$ \! Z8 d
- i/ N: S" O% X2 z
过去我常常一看挂单就想加码“赢回来”,结果反而输更惨。现在我学会了一件事:赢钱靠机会,止损靠自律。只要不被情绪带走,长期来看反而能少损多赢。2 ^: x9 I2 B) s
5 D( L9 B1 u$ j
另外,这轮台湾宾果的走势挺诡异的,总和单双跳得快,没有出现连续7期以上的连号。下午那段时间尤其乱,建议后面玩这盘口的兄弟们注意节奏,不要被短线结果误导。可以像我这样——前几期用小注探路,等走势方向稳定后再加码。% |" s& ?; N' r
* A+ H. S" @! }4 R, s! b6 I1 ]
这次我还特地看了下注明细,总金额10616,有效投注全打满,亏损-2450.64。虽然是红的,但我反而挺高兴,因为这说明我守住了底线:没追加、没爆仓。2 x9 R6 p: w6 d+ h! y* O3 t, _5 F
9 X& U6 I/ \4 z% C
最后总结一句:9 ~3 B; L) Q' z9 b! O% s+ ?
输钱不可怕,乱输才可怕;稳得住,才是真正的赢。
* d2 _) g% a6 [& b8 _2 X% v  b$ ~- _0 C4 \
这两天论坛不少人也在分享台湾盘的节奏,我的经验是——宁可打慢,也不要乱节奏。未来几天我会继续观察走势,等连号或规律性区间出来,再考虑加仓。今天就到这,休息一会,晚上再看情况。
( V" d- f! {& w
% `- u" ^3 H. d& d6 {5 z' U" E QQ20251006-160203.png QQ20251006-160102.png / `" |7 W9 u8 p9 h

# ?2 J3 m- A0 q. ~2 e; ]6 Z/ _5 T1 O1 T' P
回复

使用道具 举报

1

主题

4994

回帖

4198

金币

金牌会员

积分
23389

老会员

发表于 2025-10-6 16:22 | 显示全部楼层
楼主亏损了还是要止损,回血了一大半还是挺不错了
回复 支持 反对

使用道具 举报

197

主题

6859

回帖

148

金币

银牌会员

积分
13995

老会员交易勋章

发表于 2025-10-6 17:56 | 显示全部楼层
你还玩这个啊,我是真没玩过这类彩票,是彩票没错吧,止损做到位就好
回复 支持 反对

使用道具 举报

9

主题

2万

回帖

2904

金币

铂金用户

积分
71744

光影行者

发表于 2025-10-6 19:37 | 显示全部楼层
3050那把真够呛,能忍住不补仓已经赢一半,节奏乱时洗脸是个好招
回复 支持 反对

使用道具 举报

3400

主题

4万

回帖

4144

金币

钻石用户

积分
116769

万时之王老会员勤奋勋章交易勋章

发表于 2025-10-6 19:48 | 显示全部楼层
老哥还是低调点吧, 亏损2450, 也是输太多了, 还是要及时收手,真不敢继续了
回复 支持 反对

使用道具 举报

3400

主题

4万

回帖

4144

金币

钻石用户

积分
116769

万时之王老会员勤奋勋章交易勋章

发表于 2025-10-6 19:49 | 显示全部楼层
蔬菜沙拉 发表于 2025-10-6 19:37) H4 {; N; t" `! T& F
3050那把真够呛,能忍住不补仓已经赢一半,节奏乱时洗脸是个好招

6 Q9 V% ~8 {, m' f% @2 R  V, C) _1 ~玩菠菜还是量力而行吧, 别玩太大了, 输太多了, 也是很影响心情了。
回复 支持 反对

使用道具 举报

3400

主题

4万

回帖

4144

金币

钻石用户

积分
116769

万时之王老会员勤奋勋章交易勋章

发表于 2025-10-6 19:49 | 显示全部楼层
二电厂哥 发表于 2025-10-6 17:56
, g5 o# T$ ~$ y0 I" J' z你还玩这个啊,我是真没玩过这类彩票,是彩票没错吧,止损做到位就好
) X; o' ~. R$ y+ \4 ]2 `( v
亏损了2450也是输太多了, 这钱能干很多事的了啊, 也是很遗憾了。
回复 支持 反对

使用道具 举报

3400

主题

4万

回帖

4144

金币

钻石用户

积分
116769

万时之王老会员勤奋勋章交易勋章

发表于 2025-10-6 19:50 | 显示全部楼层
shunlifeiup 发表于 2025-10-6 16:22
- |& x5 x2 Z# L3 r2 P9 U, D楼主亏损了还是要止损,回血了一大半还是挺不错了
3 p. v' a4 e: E. d% i2 h0 j; P* Y
损失惨重了呀, 输了这么多, 想回血都是很困难了啊, 还是休息冷静一下吧。
回复 支持 反对

使用道具 举报

390

主题

1571

回帖

2955

金币

银牌会员

积分
10248

老会员交易勋章

发表于 2025-10-6 21:07 | 显示全部楼层
能够及时做到止损啊 还是很不容易的   及时调整吧!
回复 支持 反对

使用道具 举报

52

主题

2万

回帖

1万

金币

铂金用户

积分
97234

老会员光影行者

发表于 2025-10-7 02:34 | 显示全部楼层
别急着追,理性把握,稳住节奏,总会有赚钱的时候,节制至关重要
回复 支持 反对

使用道具 举报

52

主题

2万

回帖

1万

金币

铂金用户

积分
97234

老会员光影行者

发表于 2025-10-7 02:34 | 显示全部楼层
蔬菜沙拉 发表于 2025-10-6 19:37
; z- [1 Z" i) K8 w- `* W6 M3050那把真够呛,能忍住不补仓已经赢一半,节奏乱时洗脸是个好招

: k9 y! W4 |7 v' n' u+ o6 G3050那把确实有点狼狈,不过威尼斯人台湾宾果稳住节奏,亏损2450也算是及时止损
回复 支持 反对

使用道具 举报

2543

主题

8万

回帖

4148

金币

海燕硕士

积分
228775

老会员超级精华精华勋章美女勋章勤奋勋章交易勋章万时之王

发表于 2025-10-7 05:46 | 显示全部楼层
输掉了2000多块能够止损离开也是比较理智的一个人吧
回复 支持 反对

使用道具 举报

2543

主题

8万

回帖

4148

金币

海燕硕士

积分
228775

老会员超级精华精华勋章美女勋章勤奋勋章交易勋章万时之王

发表于 2025-10-7 05:46 | 显示全部楼层
whywhy 发表于 2025-10-7 02:34) h9 M$ l6 x( `
3050那把确实有点狼狈,不过威尼斯人台湾宾果稳住节奏,亏损2450也算是及时止损 ...

! Y) m# c' k$ V/ i反正自己的节奏要把握好,不然输的就是自己的钱
回复 支持 反对

使用道具 举报

2543

主题

8万

回帖

4148

金币

海燕硕士

积分
228775

老会员超级精华精华勋章美女勋章勤奋勋章交易勋章万时之王

发表于 2025-10-7 05:46 | 显示全部楼层
whywhy 发表于 2025-10-7 02:34
; W! Q9 U! M, T5 v别急着追,理性把握,稳住节奏,总会有赚钱的时候,节制至关重要

. ~4 }( b3 X/ q/ t9 @这个节奏导致的亏损也是没有办法的事,毕竟输了这么多
回复 支持 反对

使用道具 举报

2543

主题

8万

回帖

4148

金币

海燕硕士

积分
228775

老会员超级精华精华勋章美女勋章勤奋勋章交易勋章万时之王

发表于 2025-10-7 05:46 | 显示全部楼层
莫扎特06 发表于 2025-10-6 19:49* @; r8 `% O! Q, C3 T
亏损了2450也是输太多了, 这钱能干很多事的了啊, 也是很遗憾了。
7 _6 y& \- {- T3 `' z% e0 X5 [/ [
输的太多也是要想办法把它搞回来,不然也是难受
回复 支持 反对

使用道具 举报

您需要登录后才可以回帖 登录 | 立即注册

本版积分规则

广告合作|福利汇|论坛简介|钱包教程|手机版|小黑屋|Archiver|海燕论坛

快速回复 返回顶部 返回列表