找回密码
 立即注册
澳门威尼斯人
U8
U18
海燕招商
A
蓝盾
e世博
islot.
申博亚洲
澳门银河
B
腾博会
德信
C级广告商
吉祥坊
查看: 63|回复: 2

[彩票] 彩票游戏坚持策略打法收米机会很大些

[复制链接]

76

主题

2787

回帖

743

金币

铜牌用户

积分
8606

老会员

发表于 2026-4-18 13:20 | 显示全部楼层 |阅读模式

马上注册,结交更多好友,享用更多功能,让你轻松玩转社区。

您需要 登录 才可以下载或查看,没有账号?立即注册

×
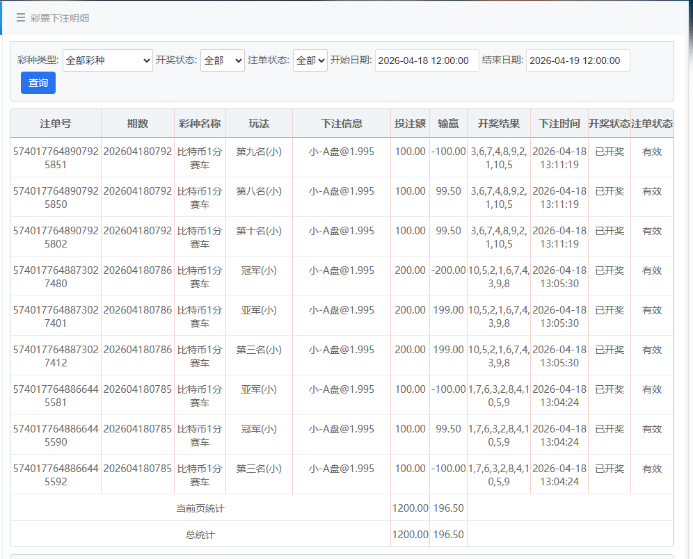
更多玩彩票的时候,都是要坚持每天的打法,这样才能有机会进一步去突破。中午运气不错的,三定位两面玩法,赢下190多块钱。1 ^* j# V1 k( u; r' u

+ V2 h" g: y8 i& t7 S0 l; b% U6 N& }: P
2.jpg
, p* @* q0 D8 b4 C9 E6 \ 1.jpg 9 i. v' t6 Z# e0 o

评分

参与人数 1金币 +6 收起 理由
海燕RG + 6 实战分享

查看全部评分

回复

使用道具 举报

63

主题

4万

回帖

2325

金币

钻石用户

积分
127292

万时之王老会员勤奋勋章交易勋章光影行者

发表于 2026-4-18 16:04 | 显示全部楼层
这个也是有个好运气,那是超级不错了,搞起来,保持下去的了!
回复 支持 反对

使用道具 举报

98

主题

2万

回帖

7634

金币

铂金用户

积分
88402

老会员交易勋章魅力达人

发表于 2026-4-18 17:54 | 显示全部楼层
中午这手两面定位打得漂亮,190多块到手,看来坚持日常打法确实能等来好时机
回复 支持 反对

使用道具 举报

您需要登录后才可以回帖 登录 | 立即注册

本版积分规则

广告合作|福利汇|论坛简介|钱包教程|手机版|小黑屋|Archiver|海燕论坛

快速回复 返回顶部 返回列表