找回密码
 立即注册
澳门威尼斯人
U8
U18
海燕招商
A
蓝盾
e世博
islot.
申博亚洲
澳门银河
B
腾博会
德信
C级广告商
吉祥坊
查看: 191070|回复: 47

[彩票] 【实战有奖】USDT casino下注新加坡六合彩

[复制链接]

197

主题

6859

回帖

148

金币

银牌会员

积分
13995

老会员交易勋章

发表于 2024-6-22 19:03 | 显示全部楼层 |阅读模式

马上注册,结交更多好友,享用更多功能,让你轻松玩转社区。

您需要 登录 才可以下载或查看,没有账号?立即注册

×
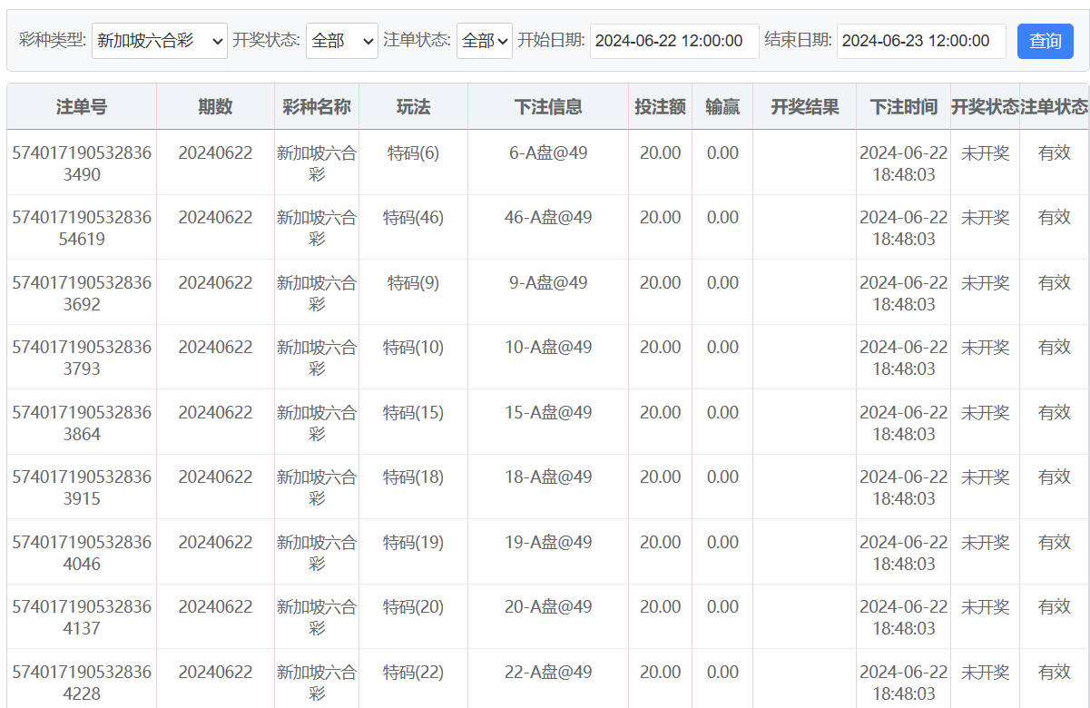
今天登录USDT CASINO准备下注体育赛事的,看到一笔彩金可以领取的一共1288USDT.想象完全是可以去试试新加坡六合彩的投注,这款彩票的赔率真是非常高的,特码直接给49倍数满倍,一共下注20注合计400USDT,希望晚上可以顺利中奖成功的。
! L2 u! o+ h- w" {4 M4 ~) P
0 P- q# J1 \/ i4 g- x9 e- ^5 V, t" d' u! t* q" m7 l0 U
4.png 1.png 3.png 3.png / T- W* C" R3 H5 ?7 h
回复

使用道具 举报

头像被屏蔽

102

主题

9137

回帖

2659

金币

禁止发言

积分
23011

老会员美女勋章

发表于 2024-6-22 19:16 | 显示全部楼层
提示: 作者被禁止或删除 内容自动屏蔽
回复 支持 反对

使用道具 举报

1214

主题

3万

回帖

968

金币

铂金用户

积分
94725

老会员交易勋章光影行者

发表于 2024-6-22 19:30 | 显示全部楼层
才下注20个数字,概率还是不到五十的啊,希望你可以顺利收米了啊
回复 支持 反对

使用道具 举报

1214

主题

3万

回帖

968

金币

铂金用户

积分
94725

老会员交易勋章光影行者

发表于 2024-6-22 19:30 | 显示全部楼层
尔不耳不斤 发表于 2024-6-22 19:160 \0 i; X# r6 D
新加坡六合彩能中个大奖看楼主运气了,这投的可是不小啊

/ T. D% @$ ?& h% f下注多了风险也就大嘞,希望楼主的实力足够强了啊
回复 支持 反对

使用道具 举报

197

主题

6859

回帖

148

金币

银牌会员

积分
13995

老会员交易勋章

 楼主| 发表于 2024-6-22 19:49 | 显示全部楼层
尔不耳不斤 发表于 2024-6-22 19:16# z& O" b8 r: z8 n
新加坡六合彩能中个大奖看楼主运气了,这投的可是不小啊

2 b( d/ P9 f( X谢谢燕友们的祝福,要是中奖的话,晚上的宵夜肯定很丰富,美滋滋
回复 支持 反对

使用道具 举报

197

主题

6859

回帖

148

金币

银牌会员

积分
13995

老会员交易勋章

 楼主| 发表于 2024-6-22 19:50 | 显示全部楼层
猴哥打野 发表于 2024-6-22 19:30
  ?" M- j/ d; v# t& d5 P$ T9 x, U8 v才下注20个数字,概率还是不到五十的啊,希望你可以顺利收米了啊
1 B" a3 t8 H: h( ?
这个数量已经很多的了,中奖的话可以盈利580USDT
回复 支持 反对

使用道具 举报

3400

主题

4万

回帖

4146

金币

钻石用户

积分
116773

万时之王老会员勤奋勋章交易勋章

发表于 2024-6-22 19:58 | 显示全部楼层
老哥有魄力呀, 这一下就投注了400U,这可不是个小数了, 那就祝你顺利中奖吧。
回复 支持 反对

使用道具 举报

3400

主题

4万

回帖

4146

金币

钻石用户

积分
116773

万时之王老会员勤奋勋章交易勋章

发表于 2024-6-22 19:59 | 显示全部楼层
尔不耳不斤 发表于 2024-6-22 19:16
- S' C9 `# |0 x0 t新加坡六合彩能中个大奖看楼主运气了,这投的可是不小啊
  Q4 B" Q3 I& M; @+ j8 ^+ A
六合彩我也是不会玩的, 我只玩体育比赛, 彩票的话只玩体彩,大乐透, 福彩3D,双色球。
回复 支持 反对

使用道具 举报

0

主题

9812

回帖

4749

金币

金牌会员

积分
31022

老会员

发表于 2024-6-22 20:57 | 显示全部楼层
这个好像都是不那么简单的,希望楼主以后都能有个好的结果了。
回复 支持 反对

使用道具 举报

2661

主题

5万

回帖

2567

金币

钻石用户

积分
170891

万时之王老会员精华勋章勤奋勋章交易勋章

发表于 2024-6-23 01:11 来自手机 | 显示全部楼层
楼主有1288U的彩金,真是太厉害了,看来楼主也是个大户玩家,彩金都这么高
回复 支持 反对

使用道具 举报

2661

主题

5万

回帖

2567

金币

钻石用户

积分
170891

万时之王老会员精华勋章勤奋勋章交易勋章

发表于 2024-6-23 01:13 来自手机 | 显示全部楼层
莫扎特06 发表于 2024-6-22 19:58
  \) s* L: W: V2 v3 o+ r  Q& U9 h老哥有魄力呀, 这一下就投注了400U,这可不是个小数了, 那就祝你顺利中奖吧。 ...

4 k1 W- R- ~" K! ]楼主也玩新加坡六合彩,不错啊,今晚特码开了兔14,不知楼主中奖没有?我今晚下注六肖中了
回复 支持 反对

使用道具 举报

2661

主题

5万

回帖

2567

金币

钻石用户

积分
170891

万时之王老会员精华勋章勤奋勋章交易勋章

发表于 2024-6-23 01:15 来自手机 | 显示全部楼层
尔不耳不斤 发表于 2024-6-22 19:16
- i) Z* {/ ?' n% x- S新加坡六合彩能中个大奖看楼主运气了,这投的可是不小啊

  B+ P1 a) Z  w! ?# [2 D看楼主下注不小,应该是很有把握的了,六合彩靠经验和运气
回复 支持 反对

使用道具 举报

1629

主题

8万

回帖

2万

金币

海燕硕士

积分
258959

万时之王老会员精华勋章勤奋勋章交易勋章光影行者

发表于 2024-6-23 07:05 | 显示全部楼层
希望楼主的六合彩是可以中奖的吧,毕竟我们都是想要战胜庄家的呢
回复 支持 反对

使用道具 举报

1629

主题

8万

回帖

2万

金币

海燕硕士

积分
258959

万时之王老会员精华勋章勤奋勋章交易勋章光影行者

发表于 2024-6-23 07:05 | 显示全部楼层
浴火凤凰 发表于 2024-6-23 01:15* ]1 M% o+ U! J, Z2 d8 W) i
看楼主下注不小,应该是很有把握的了,六合彩靠经验和运气

$ b. ?9 L4 G: Z, N% Q2 [5 @只要有信心了相信是可以中奖的,感觉楼主的运气非常不错的呢
回复 支持 反对

使用道具 举报

2552

主题

8万

回帖

3440

金币

海燕硕士

积分
228138

老会员超级精华精华勋章美女勋章勤奋勋章交易勋章万时之王

发表于 2024-6-23 07:13 | 显示全部楼层
每天下注的话也是希望中奖的呀,这个游戏我是不玩,因为玩不明白
回复 支持 反对

使用道具 举报

您需要登录后才可以回帖 登录 | 立即注册

本版积分规则

广告合作|福利汇|论坛简介|钱包教程|手机版|小黑屋|Archiver|海燕论坛

快速回复 返回顶部 返回列表